Вход/Регистрация
Ковка
вернуться

Навроцкий Александр Георгиевич

Шрифт:

Головку болта высаживают аналогично головке гвоздя, но для получения граней ее деформируют в специальной гвоздильне (рис. 1.2.10 г, п. 8) с шестигранным углублением.

Гвоздь с большой шляпкой можно ковать, не используя высадку, а путем оттяжки стержня из заготовки с большим сечением, с последующим отрубанием гвоздя от основной заготовки и оформлением головки.

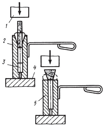
Кузнец из Соликамска А. Малышев предложил еще один способ набора металла для формирования увеличенной головки гвоздя или болта. Для этого необходимо изготовить две специальные оправки (рис. 1.2.11, п. 2, 5) с центральным отверстием, диаметр которого совпадал бы с диаметром заготовки. Первая оправка (рис. 1.2.11, п. 2) сверху имеет внутренний конус, а вторая (рис. 1.2.11, п. 5) – без конуса.

Рис. 1.2.11. Высадка больших головок.

Принцип работы следующий: заготовку с нагретым концом вставляют в отверстие оправки, предварительно вставив в нее опорный цилиндр заданной длины (рис. 1.2.11, п. 3), а затем оправку с нагретой заготовкой устанавливают на наковальню или нижний боек молота (рис. 1.2.11, п. 4) и сверху наносят серию ударов бойком молота (рис. 1.2.11, п. 1). Нагретый металл деформируется в коническую полость. Высаженную заготовку переносят во вторую оправку и ударом бойка формируют цилиндрическую увеличенную головку.

Уральские кузнецы в качестве сувениров куют уникальные гвозди с большими шляпками (фото 1.2.1) из четырехгранного стержня и завязывают его красивым «морским» узлом.

В 2008 г. на чемпионате кузнецов в Швеции отковали самый длинный гвоздь – его длина получилась более 2,5 м. Это изделие вошло в Книгу рекордов Гиннесса.

При соединении металлических деталей с деревянными, например жиковин с дверью или воротами, применялись специальные болты с квадратным подголовником, который входил в квадратное отверстие детали. Шляпку с подголовником оформляют в гвоздильне, а стержень – в цилиндрических обжимках. Резьбу нарезают метчиками. При навеске жиковин под гайку надо обязательно накладывать шайбу. Такие болты дают надежное соединение и удобство при сборке, так как при откручивании (или закручивании) гайки нет необходимости удерживать болт за головку во избежание прокручивания.

Гаечный ключ можно отковать из полосы соответствующего размера. Полосу (рис. 1.2.12, п. 1) ставят на ребро на «нижник» (рис. 1.2.12, п. 4), который вставлен в наковальню (рис. 1.2.12, п. 5), и, удерживая ее клещами (рис. 1.2.12, п. 6), пережимают в области головок при помощи верхней пережимки (рис. 1.2.12, п. 2). После этого протягивают рукоятку ключа (рис. 1.2.12, п. 7), скругляют головки (рис. 1.2.12, п. 8) и прошивают или просверливают отверстия соответствующих размеров. Затем при помощи ножовок прорезают «зев» ключа и правят его на специальной оправке (рис. 1.2.12, п. 10). Последней операцией является формирование граней под размер гаек. После отделки головок и рукоятки ключ готов.

Рис. 1.2.12. Ковка гаечного ключа.

Ковку гаечных ключей небольшого размера можно осуществлять из круглой заготовки. Вначале на концах заготовки путем высадки набираем металл и протягиваем его на наковальне, затем проковываем рукоятку и далее обрабатываем по приведенной выше технологии.

Технология изготовления подков и элементов конской сбруи

Первые металлические приспособления для защиты копыт лошади появились уже в I в., но это были еще не подковы, а скорее башмаки, которые привязывались к копыту лошади ремнями (рис. 1.2.13). На Руси еще в начале XI в. большинство лошадей ковали только на зиму, так как им приходилось работать на дорогах с ледяным покровом. Зимние подковы имели острые шипы, изготовленные как единое целое с подковой. Ковка лошадей всегда требовала большого умения от кузнеца.

Рис. 1.2.13. Защитные приспособления для копыт солеа (а) и способ их крепления (б).

Киевские дружинники и древнерусские всадники летом не ковали лошадей, но зимой к копытам прикрепляли специальные ледоходные шипы. На рельефе Дмитриевского собора города Владимира легендарный конь князя Олега изображен подкованным.

Подкова – это железный профиль, загнутый по форме копыта лошади. Верхняя сторона подковы (рис. 1.2.14, п. 1), обращенная к копыту лошади, имеет отворот (рис. 1.2.14, п. 2) и бухтовку (скругление ребра) (рис. 1.2.14, п. 3). Нижняя сторона, соприкасающаяся с землей, – шипы: передний, или зацепной (рис. 1.2.14, п. 7), и два задних – шпоровых (рис. 1.2.14, п. 4); бороздку для утопления головок гвоздей (рис. 1.2.14, п. 5) и гвоздевые отверстия (рис. 1.2.14, п. 6). Кроме этого, у подковы различаются наружные (рис. 1.2.14, п. 8) и внутренние (рис. 1.2.14, п. 9) ветви.

Рис. 1.2.14. Подкова и ее основные элементы.

Подковы разделяются на подковы для рабочих, кавалерийских и спортивных лошадей. Подковы для рабочих и кавалерийских лошадей изготовляют как свободной ручной ковкой, так и штамповкой на молотах, а спортивных – только ручной ковкой индивидуально по специальным меркам на каждую ногу. При этом в спортивной практике различают подковы для скаковых лошадей, лошадей-троеборцев (или двоеборцев) и для рысистых лошадей.

  • Читать дальше
  • 1
  • ...
  • 22
  • 23
  • 24
  • 25
  • 26
  • 27
  • 28
  • 29
  • 30
  • 31
  • 32
  • ...

Ебукер (ebooker) – онлайн-библиотека на русском языке. Книги доступны онлайн, без утомительной регистрации. Огромный выбор и удобный дизайн, позволяющий читать без проблем. Добавляйте сайт в закладки! Все произведения загружаются пользователями: если считаете, что ваши авторские права нарушены – используйте форму обратной связи.

Полезные ссылки

  • Моя полка

Контакты

  • chitat.ebooker@gmail.com

Подпишитесь на рассылку: