Вход/Регистрация
Вертолет, 2004 №1
вернуться

Журнал Вертолет

Шрифт:

В 90-х годах НПК «ПАНХ» была разработана внешняя подвеска с САФ для вертолета Ми-8МТВ, оборудованная двумя замками ДГ-65 и предназначенная для перевозки груза массой до 3000 кг на ВП, а также для выполнения строительно-монтажных работ на высотных объектах.

Конструкция подвески предусматривала оперативную отцепку грузов с нижних электрозамков без сброса удлинительных канатов и привлечения наземного персонала. При возникновении аварийной ситуации з полете подвеска вместе с грузом сбрасывалась с верхнего электрозамка по основному и дублирующему каналам (для этого достаточно нажать кнопки, расположенные на левой ручке «шаг-газ»). Контроль текущего значения нагрузки на тросах САФ экипаж осуществлял по цифровым индикаторам, расположенным на приборной доске в кабине пилотов или на специальном блоке оператора при помощи системы контроля силы по тросу (СКСТ). Одновременно с этим производилась регистрация текущего значения нагрузки на тросе внешней подвески на бортовом устройстве регистрации параметров полета (БУР-1-2Ж). Конструктивно подвеска была выполнена таким образом, что подготовка ее к работе производилась оперативно с минимальными трудозатратами.

С помощью такой системы успешно выполнялись самые различные монтажные работы, в том. числе и работы, связанные с возведением высоких телепередающих мачт высотой до 85 м. Однако в целом она имела те же недостатки, что и САФ вертолета Ми-10К, и также не обеспечивала необходимую азимутальную ориентацию груза в полете. Указанное обстоятельство требовало постоянного присутствия наземного персонала в зоне установки объекта для его разворота в проектное положение с помощью фал или специальных оттяжек, что не всегда было возможно из соображений безопасности, особенно при выполнении монтажа высотных объектов с большими значениями момента инерции монтажных блоков.

Разворот груза в проектное положение САО-26-2

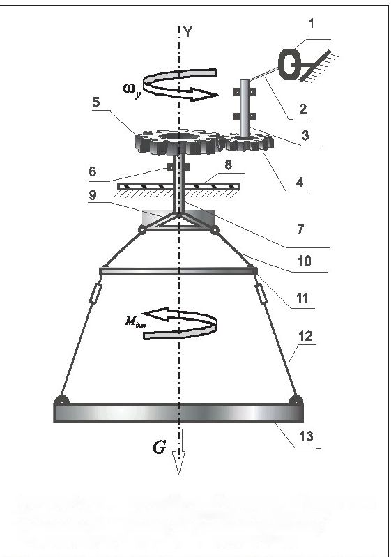
1-кольцевой тензо динамометр; 2-рычаг; 3-промежуточный вал привода; 4,5-зубчатая цилиндрическая передача; 6-упорный подшипник; 7-выходной вал САО; 8-стойка; 9-переходное звено; 10-канат; 11 — распорная балка; 12-канат внешней подвески; 13-груз

Рис. 1. Принципиальная схема САО груза на внешней подвеске вертолета Ка-32

Современные системы азимутальной ориентации (САО) грузов для вертолетов Ми-26 и Ка-32, разработанные в Краснодаре, не только позволяют фиксировать положение груза на внешней подвеске, но и дают возможность экипажу разворачивать его в полете на необходимый угол, компенсируя возникающие отклонения вертолета по курсу в момент висения над монтажным объектом. Центральным звеном, в эксплуатации вертолета и обеспечении безопасности полетов на АСМР является экипаж.

По нашему мнению, в подготовке и обучении лиц летных специальностей, особенно командиров ВС, а также в поддержании их летной квалификации, тренировке к выполнению АСМР и перевозке грузов на внешней подвеске существенная роль должна отводиться авиационным тренажерам. К сожалению, существующие комплексные тренажеры КТВ Ми-8 не позволяют моделировать ситуации, связанные с раскачкой груза на внешней подвеске, или отрабатывать режим точного висения вертолета над предполагаемым объектом, монтажа при подготовке к АСМР. Решить эту проблему пытаются специалисты санкт-петербургской авиаремонтной компании «СПАРК» и ОАО НПК «ПАНХ».

Разработанный, изготовленный и установленный в ОАО «СПАРК» первый в России тренажер нового поколения вертолета Ми-8МТВ (Ми-8АМТ) уже сейчас с достаточном точностью позволяет экипажу отрабатывать технику пилотирования вертолета на режиме висения в необходимом, для выполнения АСМР диапазоне высот. Он позволяет также моделировать полеты по ПВП (ОПВП, ППП) на реально отображаемом рельефе как горной, так и равнинной местности или над водным, пространством.

Оборудование кабины пилота и работа систем, этого тренажера полностью соответствуют реальным условиям, вертолета и позволяют качественно проводить подготовку экипажа в штатных, а также в сложных и аварийных ситуациях на всех режимах полета. Цветная система визуализации с углом, обзора 170° реально воспроизводит рельеф местности и наземные объекты конкретного района полета, в том числе и движущиеся, оперативно отражает изменение угловой видимости с учетом, времени суток и метеообстановки. Программа тренажера позволяет выводить на экран монитора инструктора изображение приборной доски вертолета с действующими приборами (вид из кабины экипажа), а также может воспроизводить любую цифровую информацию о текущих параметрах полета. Тренажер позволяет имитировать полет вертолета в ручном (штурвальном), автоматическом или смешанном режиме управления. При этом вся текущая информация о полете может быть записана в память компьютера и в дальнейшем многократно воспроизведена в любом, временном, масштабе, она может выводиться на монитор инструктора з виде соответствующих графиков. Вместе с тем, «пилотирование» вертолета здесь несколько сложнее, чем. на реальном вертолете. Сказывается отсутствие у пилота дополнительной информации в виде перегрузок, звуков, вибраций и тактильных ощущений. Но в автоматическом, и смешанном. режиме «полет» на тренажере ничем не отличается от полета на реальном вертолете.

Не менее важным, фактором, повышающим эффективность применения вертолетов на АСМР, является разработка проекта производства работ (ППР). От правильного выбора механизмов, оборудования, монтажной оснастки, метода и последовательности авиационного монтажа зависит успешное строительство любого объекта. Стоимость работ здесь, как правило, весьма велика, поэтому к летчикам предъявляются высочайшие требования по безопасности, качеству и срокам выполнения указанных работ. Ведь каждый ввод новой радиотелевизионной мачты или мачты сотовой связи дает возможность увеличить число абонентов, определяет окупаемость строительства, прибыль, а также возможности дальнейших инвестиций.

Кабина тренажера вертолета Ми-17 ОАО «СПАРК»

Узел поворотных роликов СДО, (вид со стороны рампы вертолета Ми-26)

Экономический эффект от применения вертолетов на строительстве подобных объектов возможен уже на первом (подготовительном) этапе работ за счет снижения затрат заказчика на перебазирование наземной грузоподъемной техники, сооружение временных подъездных путей и дорог, строительство вспомогательных зданий и технологических сооружений.

Безусловно, в самсе ближайшее время мы столкнемся с увеличением объектов АСМР, где потребуются эффективные технические средства, способные значительно снизить стоимость выполняемых работ. Неизбежное старение парка дорогостоящей авиационной техники и ограниченность средств авиапредприятий предусматривают грамотное использование ресурсов эксплуатируемых вертолетов, поэтоуу любая модернизация тяжелого транспортного вертолета, разработка для него новых технических средств, перспективных технологий и методов выполнения авиационных работ — это серьезный шаг вперед. Необходимо, чтобы все эти отдельные шаги были увязаны в единую концепцию развития отечественного парка вертолетов с учетом накопленного опыта эксплуатации этих машин как на внутреннем рынке авиаработ, так и за рубежом.

  • Читать дальше
  • 1
  • ...
  • 14
  • 15
  • 16
  • 17
  • 18
  • 19
  • 20
  • 21
  • 22
  • 23
  • 24
  • ...

Ебукер (ebooker) – онлайн-библиотека на русском языке. Книги доступны онлайн, без утомительной регистрации. Огромный выбор и удобный дизайн, позволяющий читать без проблем. Добавляйте сайт в закладки! Все произведения загружаются пользователями: если считаете, что ваши авторские права нарушены – используйте форму обратной связи.

Полезные ссылки

  • Моя полка

Контакты

  • chitat.ebooker@gmail.com

Подпишитесь на рассылку: