Вход/Регистрация
Сварка
вернуться

Банников Евгений

Шрифт:

Глава 11

Оборудование для проведения газовой сварки

Оборудование и аппаратура для проведения газовой сварки

Газовой сваркой называется сварка плавлением, при которой нагрев кромок соединяемых частей и присадочного материала производится теплотой сгорания горючих газов в кислороде. Классифицируется газовая сварка по виду применяемого горючего газа (ацетилено-кислородная, керосино-кислородная, бензино-кислородная, пропанобутано-кислородная и др.). Широкое применение получили газовые сварки ацетиленокислородная и пропанобутано-кислородная.

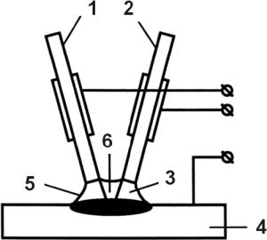
Для производства работ сварочные посты должны иметь следующее оборудование и инвентарь (рис. 71):

• ацетиленовый генератор или баллон с горючим газом;

• кислородный баллон;

• редукторы (кислородный и для горючего газа);

• сварочная горелка с набором сменных наконечников;

• шланги для подачи горючего газа и кислорода в горелку;

• сварочный стол;

• приспособления для сборки изделий под сварку;

• комплект инструментов.

Рис. 71. Оборудование поста для газовой сварки: 1 – горелка; 2 – шланг для подвода ацетилена; 3 – шланг для подвода кислорода; 4 – ацетиленовый баллон; 5 – ацетиленовый редуктор; 6 – кислородный редуктор; 7 – кислородный вентиль; 8 – кислородный баллон

Ацетиленовым генератором называется аппарат, предназначенный для получения ацетилена при взаимодействии карбида кальция с водой.

Ацетиленовые генераторы различают по следующим признакам:

1. По давлению получаемого ацетилена – генераторы низкого давления – до 0,02 МПа и среднего давления – 0,01–0,15 МПа.

2. По производительности – генераторы дают 0,3–640 м3/ч ацетилена (чаще применяют генераторы производительностью 1,25 м3/ч).

3. По способу установки – передвижные и стационарные.

4. По принципу взаимодействия карбида кальция с водой – работающие по принципам «карбид в воду» (КВ), «вода в карбид» (ВК), «вытеснение воды» (ВВ), комбинированные (рис. 72).

Рис. 72. Схемы ацетиленовых генераторов:

а – «карбид в воду»; б – «вода в карбид»; в – «вытеснение»; г, д – комбинированные системы; 1– бункер или барабан с карбидом кальция; 2 – реторта; 3 – система подачи воды; 4 – газосборник; 5 – спуск газа; 6 – отбор газа

Принцип КВ предусматривает периодическую подачу в воду карбида кальция. При этом достигается наибольший выход ацетилена – до 95 %.

Принцип ВК осуществляется периодической подачей порций воды в загрузочное устройство, куда заранее насыпается карбид кальция.

Комбинированный принцип предусматривает периодическое соприкосновение и взаимодействие карбида кальция с водой. Применяют два варианта: «вытеснение воды» (для разобщения воды и карбида кальция) и «погружение карбида» (для получения контакта воды с карбидом кальция). Этот принцип осуществляется автоматически и широко используется в передвижных генераторах, но по сравнению с другими дает наименьший выход ацетилена.

Принцип ВВ предусматривает разложение карбида кальция при соприкосновении его с водой в зависимости от уровня воды, находящейся в реакционном пространстве и вытесняемой образующимся газом. Все ацетиленовые генераторы, независимо от их системы, имеют следующие основные части: газообразователь, газосборник, предохранительный затвор, автоматическую регулировку вырабатываемого ацетилена в зависимости от его потребления.

Рассмотрим принцип работы однопостового передвижного морозоустойчивого ацетиленового генератора низкого давления типа АНВ–1,25, работающего по принципу «вода на карбид» в сочетании с процессом «вытеснения воды». Производительность этого генератора составляет 1,25 м3/ч, максимальное давление равно 0,01 МПа.

Цилиндрический корпус генератора разделен горизонтальной перегородкой на две части: водосборник и газосборник. В нижнюю часть газосборника вварена реторта, в которую вставляется загрузочная корзина с карбидом. Реторта плотно закрывается крышкой на резиновой прокладке. Через верхнюю открытую часть корпуса генератор заполняется водой до отметки уровня. При открывании крана вода из корпуса поступает в реторту и взаимодействует с карбидом. Выделяющийся ацетилен собирается под перегородкой в газосборнике и затем через осушитель и водяной затвор поступает в сварочную горелку или резак. При установившемся режиме давление ацетилена сохраняется почти постоянным.

  • Читать дальше
  • 1
  • ...
  • 57
  • 58
  • 59
  • 60
  • 61
  • 62
  • 63
  • 64
  • 65
  • 66
  • 67
  • ...

Ебукер (ebooker) – онлайн-библиотека на русском языке. Книги доступны онлайн, без утомительной регистрации. Огромный выбор и удобный дизайн, позволяющий читать без проблем. Добавляйте сайт в закладки! Все произведения загружаются пользователями: если считаете, что ваши авторские права нарушены – используйте форму обратной связи.

Полезные ссылки

  • Моя полка

Контакты

  • chitat.ebooker@gmail.com

Подпишитесь на рассылку: