Вход/Регистрация
Сварка
вернуться

Банников Евгений

Шрифт:

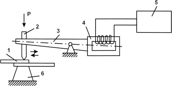
Рис. 27.

Принципиальная схема ультразвуковой сварки:

1 – свариваемые детали; 2 – инструмент; 3 – волновод; 4 – преобразователь; 5 – генератор ультразвуковых колебаний; 6 – опора

В результате ультразвуковых колебаний в тонких слоях контактирующих поверхностей создаются сдвиговые деформации, разрушающие поверхностные пленки. При этом тонкие поверхностные слои металла нагреваются, металл в этих слоях немного размягчается и под действием сжимающего усилия пластически деформируется. При сближении поверхностей на расстояние действия межатомных сил между ними возникает прочная связь.

Экспериментально установлено, что прочность соединений, выполненных сваркой ультразвуком, во многих случаях превосходит прочность соединения, полученного контактной сваркой.

Сравнительно небольшое тепловое воздействие на соединяемые материалы обеспечивает минимальное изменение их структуры, механических и других свойств. Например, при сварке меди температура в зоне контакта не превышает 600 °C. При сварке алюминия и его сплавов температура составляет 200–300 °C. Это особенно важно при сварке химически активных металлов.

Этим видом сварки соединяют металлы, сплавы металлов и различные материалы в различных сочетаниях толщиной от 0,001 мм и до нескольких миллиметров. При сварке пластмасс к заготовкам подводятся поперечные ультразвуковые колебания.

В настоящее время ультразвуковая сварка находит широкое применение в радиоэлектронной промышленности, приборостроении, авиационной, космической и многих других областях.

Сварка ультразвуком применяется для точечных и шовных соединений внахлестку и по замкнутому контуру.

Достоинства сварки ультразвуком:

• незначительный нагрев деталей (в пределах пластической деформации);

• для получения сварного соединения требуется незначительная электрическая мощность;

• подготовка деталей ограничивается практически их обезжириванием;

• возможность производить сварку деталей с оксидированными и плакированными поверхностями, а также с покрытиями в виде изоляционных пленок;

• возможность сварки разнородных металлов и материалов, в т. ч. и пластмасс;

• возможность сварки ультратонких листов до 0,001 мм;

• сваркой ультразвуком можно соединять разнородные материалы в пакет;

• ультразвуковая сварка применима для соединения трудносвариваемых металлов, например молибдена, вольфрама, тантала, циркония;

• сварка происходит практически мгновенно, в момент включения УЗ-генератора;

• отсутствие вредных выделений при сварке;

• высокая степень автоматизации процесса сварки;

• высокая скорость сварки (до 150 м/час) и прочность соединения.

Недостатки сварки ультразвуком:

• применение специальных генераторов ультразвука;

• относительно небольшой диапазон толщин свариваемых материалов;

• вредное воздействие ультразвука на организм человека;

• необходимость применения устройств для предварительного сжатия деталей.

Глава 3

Термомеханический класс сварки

Классификация видов термомеханической сварки

Термомеханический класс сварки основан на использовании совместного действия тепла и давления, вводимых в зону сварки. Термомеханический, или термопрессовый, класс сварки по принципу действия во многом аналогичен рассмотренному выше механическому классу сварки. Основное отличие в том, что тепловая энергия вводится в зону сварки извне. Тепловая энергия образуется при прохождении электрического тока через сопротивление по границе «металл—металл», введением теплоты от газовой горелки, электрическим разрядом от конденсатора. Используется также тепловая энергия от дугового разряда.

В соответствии с этим термомеханический класс сварки разделяют на следующие виды:

• электроконтактная сварка;

• диффузная сварка;

• газопрессовая сварка;

• дугопрессовая сварка;

• сварка аккумулированной энергией.

Электроконтактная сварка

Электроконтактная сварка является одним из самых распространенных видов сварки металлов давлением. Электроконтактная сварка относится к видам сварки с кратковременным нагревом места соединения деталей без оплавления или с оплавлением и осадкой разогретых заготовок. Характерная особенность этих процессов – пластическая деформация, в ходе которой формируется сварное соединение. В процессе этой деформации происходит удаление окислов из зоны сварки, устранение раковин и местное уплотнение металла.

  • Читать дальше
  • 1
  • ...
  • 16
  • 17
  • 18
  • 19
  • 20
  • 21
  • 22
  • 23
  • 24
  • 25
  • 26
  • ...

Ебукер (ebooker) – онлайн-библиотека на русском языке. Книги доступны онлайн, без утомительной регистрации. Огромный выбор и удобный дизайн, позволяющий читать без проблем. Добавляйте сайт в закладки! Все произведения загружаются пользователями: если считаете, что ваши авторские права нарушены – используйте форму обратной связи.

Полезные ссылки

  • Моя полка

Контакты

  • chitat.ebooker@gmail.com

Подпишитесь на рассылку: