Вход/Регистрация
Статьи
вернуться

Тесла Никола

Шрифт:

При представлении этих незначимых результатов, я не пытался систематизировать и согласовывать их, как это должно быть в строгом научном исследовании, в котором каждый последующий результат должен быть логическим продолжением предыдущего, для того, чтобы усердный читатель или внимательный слушатель могли следовать за моей мыслью. Я предпочел сконцентрировать свои силы в основном на выдвижении новейших фактов и идей, которые могут послужить материалом для дальнейших исследований другими, и это может послужить извинением за отсутствие гармонии.

Объяснения этих явлений были даны с добрыми чувствами и с надеждой на то, что какой- нибудь студент сочтет, что изложенные факты нуждаются в лучшей интерпретации. Не будет никакого вреда от того, если студент воспримет неверную точку зрения, но когда ошибается множество умов, мир дорого платит за такие ошибки.

ВЫСОКОЧАСТОТНЫЕ ОСЦИЛЛЯТОРЫ ДЛЯ ЭЛЕКТРОТЕРАПИИ И ДРУГИХ ЦЕЛЕЙ*

Заняться систематическими исследованиями феномена высокой частоты в 1889 году меня побудили некоторые теоретические возможности токов очень высокой частоты, случайные наблюдения во время проведения экспериментов с переменным током, а также работа г-на Герца и смелые взгляды, выдвинутые Оливером Лоджем. Полученные вскоре результаты оказались таковы, что для дальнейших исследований в этой области, которые в дальнейшем оказались весьма плодотворными, потребовалось оснастить лабораторию по последнему слову. Поэтому были сделаны альтернаторы особой конструкции, и разработаны различные методы для преобразования обычных токов в токи высокой частоты. И то и другое уже было подробно описано, и теперь, я полагаю, хорошо известны.

Одной из недавно отмеченных и удивительных особенностей токов высокой частоты, которая в основном заинтересовала врачей, оказалась их полная безвредность для человека, позволяющая пропускать через человеческое тело сравнительно большое количество электрической энергии, не вызывая при этом боли или серьезного дискомфорта. Эта особенность, на которую совместно с другими, в основном, неожиданными свойствами я впервые имел честь обратить внимание ученых мужей в статье, опубликованной в техническом журнале от февраля 1891 года, и во время последующих выступлений перед научными сообществами, сразу очевидным образом указала на то, что такой ток мог бы быть использован в электротерапии.

Принимая во внимание свойства электричества в целом, и по аналогии с ними, весь комплекс физиологических эффектов можно разделить на три класса. Первый — статические эффекты: физиологические эффекты, относящиеся к данному классу, в основном зависят от величины электрического потенциала. Второй — динамические эффекты: эффекты этого класса принципиально зависят от интенсивности движения электронов, или от силы тока, проходящего через тело. Третий — эффекты, возникающие под воздействием электромагнитных волн или колебаний: импульсы, в которых электрическая энергия попеременно, с большей или меньшей частотой, переходит из статической формы в динамическую, и наоборот.

На практике, все эти различные свойства присутствуют постоянно, однако, для более удобного выбора аппаратных средств и соблюдения условий, экспериментатор может сделать тот или иной эффект доминирующим. Таким образом экспериментатор может пропускать через тело человека, или через часть тела, электрический ток сравнительно большой силы при малом напряжении, либо подвергнуть человеческое тело воздействию высоким напряжением при ничтожно малой силе тока, либо поместить пациента под воздействие электромагнитных волн, источник которых, при необходимости, может находиться на достаточно большом удалении от объекта.

Даб ы не отвлекать медика от изучения последствия воздействия на организм и корректировки методов лечения, непосредственное применение различных способов электрического воздействия на тело пациента, можно поручить электрику.

Поскольку никто не может похвастаться тем, что способен описать тот или иной предмет совершенно точно и ясно, ниже приводятся схематические иллюстрации нескольких способов подключения электрических цепей, которые несмотря на свою очевидность для большинства аудитории, все же могут оказаться небесполезными.

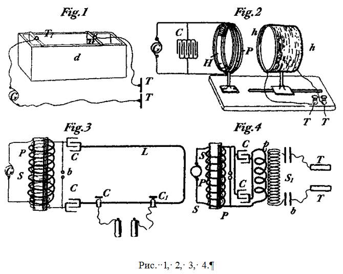
Первый и самый простой метод применения электрического тока представляет собой подключение тела пациента к двум контактам генератора, будь то динамо-машина или индукционная катушка. На Рис. 1 представлена схема подобного соединения. Альтернатор Gдолжен выдавать от пяти до десяти тысяч полных колебаний в секунду — вполне достижимая величина на сегодняшний день. Электродвижущая сила, как показали измерения при помощи теплового измерительного прибора, может быть от пятидесяти до ста вольт. Дл я того, чтобы обеспечить прохождение электрического тока через ткань, клеммы Т Т,которые служат для установления контакта с телом пациента, должны обладать достаточно большой площадью соприкосновения и покрыты тканью, пропитанной раствором электролита, безвредного для кожи. Иначе контакт с телом пациента может обеспечиваться путем иммерсии. Наилучшим образом регулировка тока осуществляется при помощи изолирующего желоба А,на котором установлены две металлические клеммы / 7 с достаточно большой контактной поверхностью, и, как минимум, одна из них должна быть съемной. Жело б заполняется водой, в воду добавляется электролитический раствор до тех пор, пока не будет достигнута степень электропроводности, пригодная для экспериментов.

При необходимости задействовать ток малой силы и с высоким напряжением используют вторичную катушку так, как это показано на Рис. 2. Я с самого начала счел удобным отойти от обычного способа наматывания катушек с большим количеством маленьких витков. Существу- ет множество аргументов, которые определят выбор врача в пользу обруча Нбольшого разме- ра, не менее трех футов в диаметре, или даже больше, с небольшим количеством витков, намотанного на него толстого кабеля Р.Вторичная катушка S,изготавливается довольно про- сто: два деревянных обруча соединяются вместе при помощи жесткого картона. Достаточно од- ного слоя обычного, не очень тонкого обмоточного провода. В зависимости от назначения катушки, количество витков провода легко определяется экспериментальным путем.

  • Читать дальше
  • 1
  • ...
  • 57
  • 58
  • 59
  • 60
  • 61
  • 62
  • 63
  • 64
  • 65
  • 66
  • 67
  • ...

Ебукер (ebooker) – онлайн-библиотека на русском языке. Книги доступны онлайн, без утомительной регистрации. Огромный выбор и удобный дизайн, позволяющий читать без проблем. Добавляйте сайт в закладки! Все произведения загружаются пользователями: если считаете, что ваши авторские права нарушены – используйте форму обратной связи.

Полезные ссылки

  • Моя полка

Контакты

  • chitat.ebooker@gmail.com

Подпишитесь на рассылку: