Вход/Регистрация
Статьи
вернуться

Тесла Никола

Шрифт:

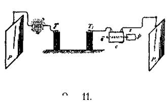
Если подсоединить изолированную металлическую пластину Р,см. Рис. 11, к одной из клемм Тиндукционной катушки при помощи провода, то, несмотря на то, что эта пластина очень хорошо заизолирована, при подключении катушки к цепи, по проводам течет ток. Сначала мне хотелось представить Вам доказательства того, что при этом именно ток течет проводам. Для того, чтобы продемонстрировать это, вполне достаточно поместить между клеммои катушки и изолированной пластиной платиновую, или мельхиоровую проволоку W,которая под действием тока раскалится добела. Для такого опыта необходимы довольно большая пластина и электрические импульсы очень высокого напряжения и частоты. Другой способ состоит в следующем: возьмем катушку С, Рис. 11, содержащую большое количество витков тонкого изолированного провода и включим ее в цепь, по которой ток идет к пластине. Когда я подсоединил один конец катушки к проводу, ведущему к другой изолированной пластине Рj,а другой конец к клемме Tjиндукционной катушки, то, при активации всей цепи, через катушку пошел ток, а его присутствие можно было продемонстрировать самыми разными способами. Например, я вставляю в катушку железный стержень i. Поскольку ток обладает очень высокой частотой и некоторой силой, а при столь высоких частотах гистерезис и потери тока очень велики, то вскоре железный стержень нагреется до высокой температуры. Можно взять стержень определенного размера, изготовленного из слоистого металла, или цельный — существенного значения не имеет, а обычная металлическая проволока, толщиной 1/16 или 1/8 дюйма, вполне подходит для этих целей.

Во время работы индукционной катушки, ток проходит по дополнительной катушке, ичерез несколько секунд железная проволока i нагревается до температуры, достаточной, чтобы растопить сургуч, который нанесен на полоску бумаги, и которым последняя крепится к проводу. При этом бумага падает вниз. При помощи аппарата, который находится здесь, можно провести и другие, более интересные опыты такого рода. Для этого задействуется вторичная обмотка S,см. Рис. 12, которая изготовлена из толстой проволоки, намотанной на катушку, похожую на ту, которая использовалась в предыдущем эксперименте. В предыдущем эксперименте сила тока, протекающего через катушку С была очень низкой, тем не менее, благодаря наличию большого количества витков стало возможным возникновение сильного теплового эффекта на проволоке.

Если бы я пропустил этот ток через проводник с целью продемонстрировать эффект нагревания последнего, то, возможно, силы тока такой величины оказалось бы недостаточно для достижения желаемого результата. Но с катушкой, имеющей вторичную обмотку, я могу преобразовывать слабый ток, но с высоким напряжением, который

проходит через первичную обмотку Р,в ток с большей силой, но меньшим напряжением, который уже может вызвать ожидаемый эффект. В маленькую стеклянную трубку я поместил платиновую проволоку W,свернутую в змеевик. Такая форма проволоки обусловлена исключительно соображениями защиты ее от внешнего механического воздействия. На каждом конце трубки имеется впаянная клемма из толстой проволоки, с которыми соединены концы платиновой проволоки W.Я подключил клеммы вторичной катушки к клеммам трубки и, как и ранее, поместил первичную обмотку рмежду изолированной пластиной Pjи клеммой T1индукционной катушки. При замыкании цепи, как только индукционная катушка начинает действовать, платиновая проволока "w" мгновенно раскаляется, и может оплавиться, даже если она очень толстая.

Вместо платиновой проволоки в данном случае я использовал обычную 50-вольтовую лампу в 16 свечей. Как только я включил в работу индукционную катушку — нить накала лампы раскалилась. При этом нет необходимости использовать изолированную пластину, лампа (I, Рис. 13) раскаляется даже если пластина Pjотключена. Для того, чтобы снизить электростатическую индукцию, или для иных целей, можно также подключить вторичную катушку к первичной так, как это показано пунктирной линией на Рис. 13.

А сейчас я хотел бы заострить Ваше внимание на некоторых данных наблюдения за лампой. Первое, я отключил одну из клемм лампы от вторичной обмотки S.Как только в цепи появился индукционный ток, вспыхнул яркий свет. Этот свет образовался благодаря электростатической индукции. При охвате лампы рукой — свечение усиливается. Это объясняется тем, что емкость тела экспериментатора добавляется к емкости вторичной цепи. По своему эффекту вторичная обмотка эквивалентна металлическому покрытию, которое могло бы быть расположено рядом с первичной обмоткой. Если вторичную обмотку, или ее эквивалент — покрытие, расположить симметрично по отношению к первичной, то при обычных условиях электростатическая индукция будет равна нулю. Эт о происходит потому, что при использовании первичной обратной цепи, обе половины нейтрализуют друг друга. На самом деле, вторичная обмотка располагается симметрично по отношению к первичной, однако, когда только один конец первичной обмотки подсоединен к индукционной катушке, то действие двух ее половин становится не равнозначным. В результате, возникает электростатическая индукция и вспыхивает свет в лампе. Можн о почти полностью компенсировать действие двух половин первичной обмотки, если подсоединить ее другой, свободный конец к изолированной пластине, как в предыдущем эксперименте.

Когда мы подключаем пластину, свечение прекращается. Если использовать пластину меньших размеров, то свечение не будет исчезать полностью, а нагрев воздух в лампе будет способствовать свечению нити накала, когда вторичная обмотка замкнута.

Для того, чтобы продемонстрировать другую особенность, я подключил катушки опреде- ленным образом. Сначала я подключил обе клеммы лампы ко вторичной обмотке, затем один конец первичной обмотки — к клемме Tjиндукцион- ной катушки, а другой конец — к изо- лированной пластине Рj,как и ранее. При подаче тока лампа загорелась яр — ким светом. На Рис. 14b изображении эта схема, где С — катушка из тонкой проволоки, a s— вторичная обмотка из толстой проволоки, намотанная по- верх катушки. Если отключить изоли- рованную пластину Pj,что изолирует один конец "а" первичной обмотки, то нить накала лампы станет темной, то есть яркость света уменьшится (Рис. 14а). Снова подсоединив плас- тину Р1и увеличив частоту тока, я добился того, что нить накала стала темной, почти красной (Рис. 15b). Я еще раз отсоединил пластину. Напра — шивается естественный вывод, что при отключении пластины, ток, проходя- щий через первичную обмотку, ослабевает, что в свою очередь снижает электродвижущую силу во вторичной обмотке S,в результате чего снижается ркость лампы. В таком случае, такой же результат можно было бы легко получить слегка под- регулировав катушки, а также изменив частоту и напряжение тока. Но, возможно, куда боль- ший интерес представляет тот факт, что при отключении пластины, яркость свечения лампы увеличивалась (Рис. 15а). В этом случае вся энергия, которую получает первичная обмотка, по- падает в нее как заряд электрической батареи в океанский кабель, но большая часть этой энер- гии возвращается через вторичную обмотку и вызывает свечение лампы. Ток, проходящий через первичную обмотку, имеет наивысшую силу в точке b, где происходит контакт с индук- ционной катушкой, и теряет свою силу на пути к точке а.В данной ситуации динамический ин- дуктивный эффект на вторичной катушке Sбольше, чем ранее, когда пластина была подключена к первичной обмотке. Эти результаты могли образоваться по нескольким причинам. Например: при подключенной пластине Pj,реакция со стороны катушки С могла быть такой, что потенци- ал на клемме T1 индукционной катушки уменьшился, и таким образом ослабил силу тока, теку щего через первичную обмотку катушки С. Либо, отключение пластины могло привести к уменьшению емкостного эффекта в отношение первичной обмотки катушки до такой степени, что уменьшилась сила тока, протекающего через нее, несмотря на то, что потенциал на клемме Тjиндукционной катушки мог оставаться той же величины, а то и более. Либо, данный резуль- тат мог образоваться вследствие изменения фазы токов в первичной и вторичной обмотках, и последующей реакции. Но главным определяющим фактором является соотношение самоин- дукции, емкости катушки С, пластины Р/,а также частоты тока. Однако повышенная яркость нити накала на Рис. 15а частично обуславливается нагревом разреженного газа в лампе, вызванном электростатической индукцией, которая, как было отмечено ранее, больше при отсое- диненной пластине.

Есть еще и другая особенность, на, которую я хотел бы обратить Ваше внимание. Когда изолированная пластина отключена и вторичная обмотка катушки открыта, то при приближении ко вторичной обмотке небольшого предмета видно, как из нее вылетают небольшие искорки, демонстрируя темсамым, что электростатическая индукция в данный момент очень мала. Но если вторичная обмотка замкнута, или подключена к лампе, нить накала которой ярко светится, то при приближении ко вторичной обмотке небольшого предмета возникают довольно мощные искры. В этом случае электростатическая индукция намного больше, поскольку замкнутая вторичная обмотка обуславливает наличие большого тока в первичной обмотке, особенно в той ееполовине, которая соединена с индукционной катушкой. Если в этот момент обхватить лампу рукой, то емкость вторичной обмотки по отношению к первичной увеличится на величину емкости тела человека, и яркость свечения нити накала увеличится. Возникновение белого накала в данном случае обусловлено двумя факторами: прохождением тока через нить накала и молекулярной бомбардировкой разреженного газа в лампе. Наблюдения за предыдущими опытами принесли довольно интересные результаты. Если я могу обеспечить прохождение электрического тока по проводу подключив только один его конец к источнику электрической энергии, значит, я могу этим током индуцировать другой ток, намагнитить железный стержень, и, короче говоря, проделать все операции, которые я мог бы осуществить при использовании обратной цепи, даже заставить вращаться электродвигатель при помощи только одного провода. Ранее я уже описывал конструкцию простого электрического двигателя, который состоит из одной катушки возбуждения, железного стержня и диска. На Рис. 16 изображен несколько видоизмененный способ работы подобных электродвигателей переменного тока. Эти двигатели приводятся в движение переменным током индуцированным в трансформаторе, у которого один выход подключен к клемме двигателя, а другой к различным цепям, вырабатывающим ток, различающийся по фазе, и приводящий в движение двигатели определенного класса. Имея перед собой данную иллюстрацию, думается, что достаточно нескольких слов для описания этой схемы. На Рис. 16 II изображена первичная катушка Р,соединенная одним своим выходом с контуром L,идущим от клеммы Т/трансформатора высокого напряжения. Ток, проходящий по первичной обмотке Рвозбуждает индукционный ток во вторичной обмотке S,изготовленной из толстой проволоки, в цепи которой имеется катушка С. Далее ток, возникающий во вторичной обмотке, передает электромагнитную энергию железному стержню i, который желательно, но не обязательно, состоит из нескольких частей, и заставляет вращаться диск d. Такой двигатель, на Рис. 16 II он схематически изображен под литерой М2,называется Магнитно-инерционным двигателем". Но такое определение может быть вынесено теми, кто Полагает, что вращение двигателя вызвано вихревыми потоками, возникающими в момент, когда стержень i вдвигается в индукционное поле обмотки. Для того, чтобы такой двигатель, какой изображен на рисунке, мог эффективно работать, частота тока не должна быть слишком Высокой, не более четырех или пяти тысяч колебаний в секунду, хотя вращение будет происходить и при десяти тысячах колебаний в секунду, и даже более.

На Рис. 16 I электродвигатель с двумя цепями возбуждения схематически изображен под литерой М1.Цепь Асоединена с контуром L,и последовательно с первичной обмоткой Р,свободный выход которой может быть подключен к пластине Рj.Такое соединение отмечено на схеме пунктирными линиями. Другая цепь двигателя Всоединена со вторичной обмоткой s, которая состоит в индуктивной связи с первичной обмоткой Р.Переменный ток, через клемму Т1 трансформатора, проходит через открытый контур L,а также через цепь А,и первичную обмотку Р.При прохождении через первичную обмотку ток индуцирует вторичный ток в цепи S,который отличается от тока в первичной обмотке по фазе на 90 градусов, или около того, и может привести в движение якорь, который индуктивно связан с цепями Аи В.

  • Читать дальше
  • 1
  • ...
  • 49
  • 50
  • 51
  • 52
  • 53
  • 54
  • 55
  • 56
  • 57
  • 58
  • 59
  • ...

Ебукер (ebooker) – онлайн-библиотека на русском языке. Книги доступны онлайн, без утомительной регистрации. Огромный выбор и удобный дизайн, позволяющий читать без проблем. Добавляйте сайт в закладки! Все произведения загружаются пользователями: если считаете, что ваши авторские права нарушены – используйте форму обратной связи.

Полезные ссылки

  • Моя полка

Контакты

  • chitat.ebooker@gmail.com

Подпишитесь на рассылку: